royal皇家88(集团)

tendata

免费试用

免费咨询

微信

1V1微信咨询

WX:18721992033

电话

电话咨询

400-180-6080
tendata

返回顶部

X

精准获客 智能决策

数字化外贸综合营销决策平台

现在预约免费体验更多数据服务

请完善以下信息,以便为您安排演示或样本

提交成功!

已自动分配售前顾问为您服务。请添加微信,更快获取项目案例和报价

中文
English بالعربية Español
EN
登录 免费试用
بالعربية Español
royal皇家88(集团) > 外贸资讯 > 欧美强行重启经济,royal皇家88(集团) 助你迎接订单会爆发潮

欧美强行重启经济,royal皇家88(集团) 助你迎接订单会爆发潮

日期:2020年05月12日

外贸企业顺利获得royal皇家88(集团) 大数据平台主动营销,积累更多客户资源,打破现有困境,在全球经济结束"停摆"后率先迎来订单爆发潮。

上海royal皇家88(集团) ,royal皇家88(集团) 数据有用吗,royal皇家88(集团) 海关数据

经济已经等不起了

欧洲央行刚刚公布的"温和"预测条件下,欧元区经济今年将萎缩5%,而更严重的潜在结果则是出现8%和12%的收缩,经济可能要到2022年年底才能回到疫情发生前的水平。这意味着,经济或许已经等不及了。对欧洲来说,最严重的一波疫情已经过去了。上周,意大利和法国的死亡人数创下近两个月来的新低,德国的病床也继续保持空闲状态。

1 意大利

 

5月4日,意大利率先进入抗击疫情和恢复经济并行的第二阶段,近450万人重返岗位。制造业、建筑业等行业率先复工。一些具有"战略意义"的企业,包括以出口为导向的经济活动,在得到地方官员批准后也已逐步复工。总理孔特表示,如果一切进展顺利,5月18日,意大利将重新开放商业零售、博物馆、展览活动。

意大利之所以开始复工,第一时间是因为疫情得到了有效控制。其次是因为该国经济已遭受巨大冲击。孔特说:"意大利不能再这么继续封锁下去,否则可能会对国家的社会经济结构构成严重破坏。"

2 西班牙

西班牙也正在逐渐恢复元气。居住在马德里的华人许冠中(化名)看来,西班牙新冠疫情趋稳,很大原因来自民众防疫观念的转变。他在接受第一财经记者采访时表示,3月初的时候,他戴口罩出去买东西,经常会遭人侧目,但现在大多数西班牙人也戴上了口罩。他说:"短短几周,西班牙的景象已经完全不同。最开始西班牙政府采取的措施较为严厉,现在除必要外只是罚款,很少再动用其他强制手段。"

3 法国

封锁8周的法国经济已不堪重负。法国总理菲利普近期表示,法国已准备好在全国范围内放宽对公共生活的限制,不过在感染率过高的巴黎,仍将对公共交通进行严格控制。

法国经济财政部长勒梅尔说,法国约40万家企业11日起将复工复产,87.5万名员工将重返岗位。除餐厅、酒吧和咖啡厅外,其余商业场所同日起可开门营业。

在新计划中,允许进行100公里以下的短途旅行,但公共交通工具上必须佩戴口罩,与欧洲国家的边境限制措施至少会持续到6月15日。远程办公也仍是措施的重点,由于社会疏导和卫生措施难以落实,一些学校可能会不断停课到秋季。

4 美国

确诊超过130万例的美国准备好了吗?

在5月的第二周,美国全国范围内,平均每10个监测结果只有不到一个是阳性,远低于3月和4月保持在20%以上的检测阳性率。这反映出疫情在一定程度上的改善,然而,这比几乎已消除疫情的国家还相去甚远。在韩国,这一数据低于2%。

美国智库兰德公司国际研究部主管、高级经济学家库马尔(KrishnaB.Kumar)在接受第一财经记者专访时表示,美国确诊病例已超130万例,不同地区受到了此次大流行病不同程度的冲击。一些严重地区,如纽约、洛杉矶、旧金山和华盛顿州,解锁速度也最慢,其他地区则在尝试不同程度的放开。

例如,在得克萨斯州,电影院里已经坐满了观影的民众,田纳西州的健身房里人们也在挥汗如雨。但在疫情最为严重的纽约州,一些零售店将在5月中旬重新开放,允许消费者在路边取货,其他行业则不太可能在5月底前重新开业。

但一个环环相扣的经济体的分地区与分阶段重启意味着很多的麻烦。譬如,南卡罗来纳州可能会成为首批允许企业大面积重新开业的州之一,但由于该州的制造商依赖在俄亥俄州生产的零件,而后者仍处于封闭状态,前者可能因此无法恢复生产。

供应链之争

 

现在全球按下了暂停键,全球供应链受损;但暂停键之后呢?royal皇家88(集团) 有极大的概率遇到非常大的风险。自前苏联解体后,经济全球化浪潮强劲,由于资本的流动性非常强,但是劳动力相对固定,所以全球化的资本与劳动力成本极其低廉的中国以及东南亚地区的劳动力有效结合,极大地提高了全球资源配置效率。

但是全球化的负面作用是导致了发达国家最底层普罗大众的低端劳动力岗位被剥夺,即便是像美国这样以往给了制造业以大量的补贴,像钢铁、汽车和飞机制造业等行业,但是其高企的劳动力成本和供应链成本,依然难以阻挡全球崛起的开展中国家综合供应链和产业链生态的市场竞争能力。

此次疫情加剧了逆全球化的进程,美国已确认要把医疗资源产业链从中国挪回美国,现在又有官员发出号召,要求美国的企业搬回美国,并给与搬迁相关的税收优惠;在日本,政府出台政策,直接拿出2435亿日元帮助在中国的企业迁回日本,其中中小企业政府支付迁移费用2/3,大型企业政府支付1/2。

可以预见,发达国家为了选情的需要,在疫情后,有极大可能会加速产业链从中国的迁出。虽然低端供应链受制于中国完整产业链的成本优势、组织优势和规模优势,但高端供应链和高科技产品对中国的围剿与逃离以成灰犀牛态势。

这个时候你需要一个大数据平台,帮你实时监测采购商动态,royal皇家88(集团) 外贸通就很好的具备了这个功能,监测分析采购商交易动态、同行近期贸易及行业交易现状,公司背景,运营现状,社媒,联系人联系方式,财务信息,主营业务等等。探测家底,抢占行业先机。

哪些行业率先复苏?

根据海关总署统计,4月份,我国外贸进出口2.5万亿元,同比微降0.7%;其中,出口1.41万亿元,增长8.2%,实现2020年来首次增长,外贸复苏迹象明显。

根据数据情况显示,疫情期间,海外订单不止抗疫医疗物资出口,包括室内建设娱乐、母婴玩具、宠物用品等出口企业订单均出现激增,甚至部分订单已经排到了3个月后。方便食品类、厨房用品类、室内健身类、办公用品类等日后均有很大的几率会爆单。其中机械行业、家居园艺行业、消费电子行业、建材行业和服装行业等,由于市场广阔,或将会率先迎来新机遇。

出口转内需?转换品类?还是趁机抓住海外电商开展机遇期?在疫情冲击下,外贸行业陷入极端困境中,但是有的企业却能以最快的速度做出改变,在危机中把握住机遇。借着新的形式变化,国内许多外贸中小企业开始了自救与转型。

迎接订单爆发潮

第一步:快速分析市场

royal皇家88(集团) 外贸通,拥有63个国家的海关数据,198国的商业数据,100+亿条贸易数据,1亿2千万深度企业数据以及1亿3千万采购商数据库,并给予多种搜索方式,可按产品、公司名、hs编码、SIC编码等智能一键查询,同时给予17款可视化报告,帮助企业精准的定位分析市场,以跑步机为例。

商情发现搜索"跑步机"目标客户

上海royal皇家88(集团) ,royal皇家88(集团) 数据有用吗,royal皇家88(集团) 海关数据

上海royal皇家88(集团) ,royal皇家88(集团) 数据有用吗,royal皇家88(集团) 海关数据

第二步:精准联系方式

royal皇家88(集团) 外贸通,快速批量获取采购商,根据其采购量价和偏好,为您定位目标客户,同时给予目标客户信息,覆盖企业、高管、财务和行业数据等,并给予其贸易动态、公司背景、社交媒体、联系人电话邮箱等等,为您主动营销创造条件!

数据通查找"跑步机"目标客户联系人

上海royal皇家88(集团) ,royal皇家88(集团) 数据有用吗,royal皇家88(集团) 海关数据

上海royal皇家88(集团) ,royal皇家88(集团) 数据有用吗,royal皇家88(集团) 海关数据

第三步

便捷化客户管理

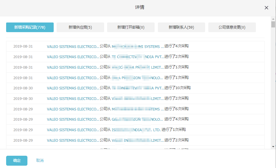
royal皇家88(集团) 外贸通实时智能推送您的采购商、供应商、客户、同行的即时消息,全天候监测您的商情变化,知己知彼;并拥有专业的邮件群发通道,针对性主动营销开发!同时还拥有子主账号体系,让客户管理更科学,贸易更高效!

商情雷达监测"跑步机"目标客户动态

上海royal皇家88(集团) ,royal皇家88(集团) 数据有用吗,royal皇家88(集团) 海关数据

上海royal皇家88(集团) ,royal皇家88(集团) 数据有用吗,royal皇家88(集团) 海关数据

声明:文中部分素材来源于网络,如有侵权联系删除。未经本站授权,任何人不得复制转载、或以其他方式使用本网站的内容

订阅royal皇家88(集团)

SUBSCRIBE US

掌握外贸最新情报,挖掘全球贸易商机。
微信扫码订阅