royal皇家88(集团)

tendata

免费试用

免费咨询

微信

1V1微信咨询

WX:18721992033

电话

电话咨询

400-180-6080
tendata

返回顶部

X

精准获客 智能决策

数字化外贸综合营销决策平台

现在预约免费体验更多数据服务

请完善以下信息,以便为您安排演示或样本

提交成功!

已自动分配售前顾问为您服务。请添加微信,更快获取项目案例和报价

中文
English بالعربية Español
EN
登录 免费试用
بالعربية Español
royal皇家88(集团) > 外贸资讯 > 你真的会用海关数据开发客户吗?

你真的会用海关数据开发客户吗?

日期:2023年08月17日

CRM系统,CRM,CRM管理系统

一说土耳其,你的第一反应是什么?是不是“想带你去浪漫的土耳其,然后一起去东京和巴黎~”说着说着大家是不是都心动,想去土耳其玩耍了……不过身为一个外贸人,从1月到12月,忙到脚不沾地就是royal皇家88(集团) 的宿命,哪有说走就走的旅行呢……虽然不能去土耳其玩,但royal皇家88(集团) 可以赚土耳其的钱,这篇开发攻略不能再错过了!

土耳其海关数据,土耳其海关数据查询,土耳其海关数据查询平台

一、土耳其与中国双边贸易情况

中国是土耳其在亚洲的最大贸易伙伴,同时也是土耳其在全世界的第二大贸易伙伴。

2018-2022年我国商品出口土耳其规模总体呈现增长态势,2020年后出口量快速提升。2022年我国商品对土耳其出口规模继续保持增长态势,增速略有下降,出口金额为2263.76亿元,同比增长20.35%。

2022年,中土双边贸易额为385.5亿美元,同比增长12.6%,其中中方出口额340.3亿美元,同比增长16.6%,进口额45.2亿美元,同比下降10.4%。

2023年1-6月中国对土耳其出口商品总值为2110372.58万美元,相比2022年同期增长了355906.8万美元,同比增长20.9%;中国自土耳其进口商品总值为216931.72万美元,相比2022年同期减少了28692.74万美元,同比下降10.8%。

土耳其海关数据,土耳其海关数据查询,土耳其海关数据查询平台

自中土签署“一带一路”谅解备忘录以来,中国企业在土耳其的投资规模超过 30 亿美元,且在金融、制造业、能源、电子和基础设施等领域的投资仍在进一步增加。如今,土耳其拥有1200多家中国公司。

2022年我国对土耳其出口商品主要注册地区为浙江、广东、江苏、山东、上海、福建、四川、北京、河南、河北等省市地区,其中浙江省对土耳其出口商品总额为425.75亿元,占国内对土耳其出口规模的18.81%。

1692240933083010407.jpg

2022年我国商品出口土耳其贸易方式主要以一般贸易为主,贸易金额为1755.73亿元,约占总贸易规模的77.56%。

土耳其海关数据,土耳其海关数据查询,土耳其海关数据查询平台

2019年5月30日中土签署双边本币互换协议;2020年6月18日顺利获得该银行支付从中国进口商品费用的公司,均以人民币进行结算,这也是首次土耳其和中国的交易中以人民币的货币交换;2023年7月26日,中国和土耳其达成本国货币进行交易结算协议,意味着中土两国的经济合作将迈向新的阶段。

二、土耳其市场潜力

1.增长型的人口红利:土耳其总人口超8527万,世界排名第 18位,国民平均年龄为 30 岁,人口结构比欧洲任何国家都要年轻。有组织分析预测,土耳其到2050年的人口结构依然是增长型,人口红利至少能释放30年以上。

2.迅猛开展的电商市场:土耳其是全球电商市场开展最快的国家之一。根据Statista的数据,2023年土耳其电商市场收入将达到187.5亿美元,2023-2027年复合年增长率为13.65%,预计到2027年市场规模将达到312.8亿美元,几乎是东南亚第三大人口大国越南的两倍。

3.年轻化的消费潜力:土耳其是一个拥有8300万人口的大国,具有较高的消费能力和庞大的中产阶级市场。土耳其的互联网普及率已经超过了50%,而且土耳其的年轻人占人口总数的比例很大,这些年轻人是电商市场的主要消费群体。

4.便利的市场准入条件:1996年,土耳其与欧盟签订了关税同盟协定,后又与世界上很多国家、组织和地区签订了双边贸易、 避免双重征税、社会保障、自由贸易等协议、协定,为在土耳其境内生产的产品进入周边市场给予了便利条件。

5.良好的中土关系:土耳其是与中国共建“丝绸之路经济带”和“21世纪海上丝绸之路”的重要合作伙伴。中土两国同为新兴市场国家代表和开展中大国,拥有广泛共同利益和巨大合作潜力。

三、土耳其热销产品

近三年来中国向土耳其出口的前十商品(按金额排序):

(1)HS84713090:其他重量不超过10千克的便携式自动数据处理设备,金额2,399,014,914美元,总数量4,632,679台;

(2)HS85171210:手持(包括车载)式无线电话机,金额2,218,539,827美元,总数量8,487,647台;

(3)HS90138030:液晶显示板,金额1,499,714,963美元,总数量33,121,400个;

(4)HS85414200:未装在组件内或组装成块的光电池,金额1,074,522,301美元,总数量944,276,832个;

(5)HS85171300:智能手机,金额1,032,182,322美元,总数量2,875,445台;

(6)HS29173611:精对苯二甲酸,金额809,567,778美元,总数量1,039,932,020千克;

(7)HS30022000:人用疫苗,金额729,222,155美元,总数量52,857千克;

(8)HS72191329:其他酸洗热轧不锈钢卷材,3mm≤厚<4.75mm,金额652,408,846美元,总数量342,128,966千克;

(9)HS85249190:未列名液晶平板显示模组,金额636,224,623美元,总数量10,677,071个;

(10)HS84713010:平板电脑,金额622,913,282美元,总数量4,658,265台

外贸企业如果希望开发土耳其优质客户,挖掘当地市场,可以使用上方数据作为参考资料,进行布局并制定营销计划。

四、土耳其市场及客户开发渠道

1、土耳其重要展会

土耳其海关数据,土耳其海关数据查询,土耳其海关数据查询平台

http://www.qufair.com/items-0-0-0-356-0-1/(这个网址可以看到土耳其全部展会)

2、土耳其本地搜索引擎:

http://google.com.tr/

http://www.mynet.com/

http://tinypic.com/

http://www.arama.com/

http://www.linkekle.net/

3、土耳其本地黄页

http://www.telerehber.com/

http://en.yellowpages.com.tr/

http://www.turkish-manufacturers.com/

http://www.spyur.am/

http://www.business-yellowpages.com/turkey

4、土耳其电商平台:

Hepsiburada:www.hepsiburada.com 是土耳其更大的电商平台,属于B2B型平台。它的平台产品品类主要有图书、电子、家居、家电、化装品等。

GittiGidiyor:http://gittigidiyor.com/是一个C2C类型的平台,创建于2001年。产品种类涵盖服装,珠宝,鞋子,玩具,家庭用品等。

Trendyol:http://www.trendyol.com/ 是一个以B2C形式树立的平台,创建于2010年。Trendyol专注于社交零售,主要出售时尚服装产品。

N11:http://www.n11.com/ 是土耳其新兴的电商平台,虽然创建较晚,但开展较快,电子、纺织品、家具和土耳其传统工艺品是该平台主要产品品类。

Morhipo:http://www.morhipo.com/ 创建于2011年,是土耳其最大的时尚电商平台之一。该平台给予了各种时尚商品,包括服装、鞋子、配饰等。Morhipo的用户数量已经超过2000万,该平台每月有超过1000万用户。

Vatan Bilgisayar:http://www.vatanbilgisayar.com/ 是土耳其最大的电子产品电商平台之一,创建于1984年。该平台给予了各种电子产品,包括笔记本电脑、手机、电视等。

Teknosa:http://www.teknosa.co.za/ 创建于2000年,是土耳其最大的电子产品电商平台之一。该平台给予了各种电子产品,包括笔记本电脑、手机、电视等。

Markafoni:http://markafoni.com/ 创建于2008年,是土耳其最大的时尚电商平台之一。该平台给予了各种时尚商品,包括服装、鞋子、配饰等。

Hizlial:http://hizlial.com/ 创建于2009年,是土耳其最大的B2B电商平台之一。该平台给予了各种商品,包括电子产品、时尚商品、家居用品等。

Boyner:http://www.boyner.com/创建于1981年,是土耳其最大的百货电商平台之一。该平台给予了各种商品,包括时尚商品、家居用品、美妆商品等。

5、土耳其社交平台:

WhatsApp是土耳其人最常使用的实时通讯应用软件。WhatsApp对土耳其16至64岁网络用户的渗透率达88%。

Telegram(非正式简称TG)是跨平台的即时通信软件,是一款全球知名的免费、开源、跨平台、基于云的加密聊天工具,土耳其几乎全民都会使用Whatsapp和Telegram和好友随时保持联系。

Instagram是土耳其青年群体中最主流的社交软件,基本所有年轻人都会用,平时浏览、发送日常动态。

Tik Tok在中东非常受欢迎,在土耳其,TikTok得到了用户的普遍欢迎。从青年到老人,每个人都在用手机创作有趣的视频。

Discord是一款专为社群设计的免费网络实时通话软件与数字发行平台,主要针对游戏玩家、教育人士及商业人士。土耳其游戏用户主要是34岁以下的年轻用户,男性占比56%,女性占比44%。

YouTube 是世界上最大的视频网站和第二大受欢迎的搜索引擎。土耳其用户和内容创作者对该平台很重要,它将确保保持一个开放的平台。

6、土耳其经贸网站

土耳其贸易部:http://ticaret.gov.tr/

土耳其海关总署:http://www.gtb.gov.tr/

土耳其外交部:http://www.mfa.gov.tr

7、土耳其常用查询工具:

货币与汇率信息查询:http://qq.ip138.com/hl.asp

土耳其企业信息查询:http://www.cnabke.com/product/intelligent-search/

进口关税查询网站:http://wmsw.mofcom.gov.cn/wmsw/

土耳其语翻译工具:http://tran.httpcn.com/fanyi/?l=tr

土耳其海关数据查询:http://www.cnabke.com/product/customs/

五、三步快速挖掘土耳其客户

第1步:一键搜索目标客户

在royal皇家88(集团) 外贸通中顺利获得输入产品名称或者HS编码,目的国设置为“土耳其”,一键搜索土耳其进出口商,让你全面掌握目标市场的现有采购商及新增采购商,快速匹配到适合开发的客户群体。

土耳其海关数据,土耳其海关数据查询,土耳其海关数据查询平台

土耳其海关数据,土耳其海关数据查询,土耳其海关数据查询平台

第2步:深度分析潜在客户

选择潜在采购商,深度分析。比如印度“AIR INTERNATIONAL TTR THERMAL SYSTEMS PRIVATE LIMI”这家公司,royal皇家88(集团) 可以清晰分析潜在客户的采购时间、采购对象、采购数量、采购价格、采购频率、采购关系,精准刻画客户画像,为开发和跟进客户给予决策依据。

土耳其海关数据,土耳其海关数据查询,土耳其海关数据查询平台

土耳其海关数据,土耳其海关数据查询,土耳其海关数据查询平台

土耳其海关数据,土耳其海关数据查询,土耳其海关数据查询平台

第3步:查看关键决策人联系方式

点进去“联系人”,可以看到采购、高管等关键决策人的邮箱、领英、Facebook等信息,也可直接链接领英等世界主流社交媒体平台,帮助企业快速和目标对象建立联系,助力客户开发。

土耳其海关数据,土耳其海关数据查询,土耳其海关数据查询平台

六、与土耳其客户贸易时注意事项

1、土耳其商人非常精明,特别能讨价还价。在报价时一定要留足余地了。

2、土耳其人办事效率不高,喜欢拖,要实行“等”的准备,“急”你就输了。

3、土耳其客户偏爱质量尚可的便宜商品,对品牌无特殊要求。沟通中可试探挖掘客户可接受的最高价格,看这个最高价是否有盈利空间,如果离谱的话,可以放弃这个客户。

4、和土耳其客户做生意,出口产品质量一定要有保证,不能因为客户的压价而给予不合格的产品。历来中土经贸往来中出现最多的问题大多都源于产品质量。

5、有些土耳其客户在付款时会要求赊账,给你开空头支票,还有些会以个人财产作为抵押开具汇票,这样的付款方式最好不要接受。尽量让他直接打款,不行的话,再让他采用即期信用证付款方式,这是最安全的方式。因为在土耳其银行开立信用证,需100%的资产抵押,只要客户赎单,收汇就有保证。

6、和土耳其客户做生意,还要分析其海关政策,否则货物出了问题,被海关扣住,最后以低价倾销卖出,损失的只有你自己。

七、土耳其海关关税

【关税】

土耳其关税税率在0%-145%之间,平均关税税率为6.02%。某些商品免征关税,如书籍、笔记本电脑和其他电子产品。

【增值税】

增值税=标准增值税税率18%×(CIF价+关税)。某些商品如食品享受优惠增值税税率。

【起征点】

进口商品货值(FOB)不超过75欧元,免征关税、增值税和特别消费税。

【其他】

特别消费税是针对特定商品,在CIF价、关税总和的基础上,征收一定税率的税费。

八、土耳其海关政策

1.如果入境货物在海关放置4个月以上,海关可以将该批货物视为无主货物处理,并且有权进行拍卖。所以不论在当地出了什么问题,这个时间节点一定要注意,不认就可能血本无归了。

2.根据土耳其海关规定,货物到达港口之后,如果出现问题,需要将货物拉回来或者转运,必须要有收货人出具的正式的“拒绝收货通知”,如果没有这个通知,货物是不允许拉回或者转运的。

3.如果货物由于各种原因被海关拍卖,那么原来的进口商是第一个有权进行购买的,也就是第一购买人。(这点请注意,很多土耳其的不法企业就是抓住了这条规定,采用各种手段拖延时间,导致最后海关拍卖,这些不法商贩就用很低的价格买进)

4.海关规定的清关期限:

(1)海运货物,从报关单递交之日起45天内;

(2)顺利获得其它运输工具的货物,从报关单递交之日起20天内。

此外,在必要情况下,海关总署可缩短或延长上述期限,一般最多可延长30天。

九、土耳其原产地证书

自土耳其取消了对我国普惠制待遇(无法申办普惠制FORMA产地证),出口到这个国家的货物现如今只能申请一般原产地证书CO给到进口商清关使用。

【办理一般原产地证书CO的条件】

(1)必须是土耳其商品

(2)出口数量必须小于5000欧元

(3)证书有效期为6个月

(4)需要给予原产地证明文件

(5)出口商必须在当地注册

【办理一般原产地证书CO的流程】

(1)提交申请:出口商需要向当地商会或工会提交一般产地证CO申请,同时需要给予出口商品的相关证明文件,以确保商品的真实性。

(2)审核:当地商会或工会会对提交申请进行审核,以确保出口商的身份和商品的真实性。(3)颁发证书:审核顺利获得之后,当地商会或工会会颁发一般产地证CO。

(4)取得证书:出口商可以在当地商会或工会领取有效期为6个月的一般产地CO。出口商可以使用证书证明商品的原产地和制造过程,以便于出口。

十、土耳其贸易风险

风险一:货币暴跌

年初至今,土耳其里拉兑美元汇率已累计下跌了约30%,成为表现最差的新兴市场货币之一。

德银预计,到2024年底,里拉汇率将进一步下滑至1美元兑35里拉的水平。

风险二:赤字创纪录

土耳其今年前五个月的政府赤字达到了377亿美元,创下新纪录。尤其是大地震之后,重建经济需要更大的财政支持,预计土耳其预算赤字增幅将达GDP的1%。

风险三:骗局不断

(1)外贸骗术之“土耳其骗局”

第一时间,在这种骗术中,骗子先注册一个土耳其的空头公司,由该公司出面将中国出口的货物骗到土耳其海关,故意拖延时间。因为根据土耳其海关规定,货物到港后进口商应在45天内完成提货手续,否则货物将被罚没并进行拍卖。不过45天届满后,收货人也就是买方有两次申请延期的机会,每次30天,且不需要提交延期理由。

此后,收货人还有一个申请延期30天提货的机会,但需向海关解释延期原因。因此,在收货人的配合下,货物在到港后135天内通常不会进入拍卖程序,不过在此期间产生的滞港、仓储等费用难以避免。货物列入海关拍卖清单后,原进口商为第一购买人。同时,土耳其还有一条对出口商不利的海关规定:根据规定在船只到达土耳其港口前,货代需要将货物登记在收货人名下。

所以,很多土耳其的不法企业正是抓住了这两点,采用各种手段拖延时间,导致最后海关拍卖,然后用很低的价格买进,再高价卖出分赃。这就是“土耳其骗局”。

(2)其他常见的外贸骗术

骗子伪装成知名买方的代理人,大量收货,混淆买方与中间商,让中国销售方傻傻分不清;骗子勾结货代无单放货,货代又未在中国营业注册,无法追偿;

骗子利用金融管理落后国家的银行,不按国际规则操作,未经允许就私自放单等。

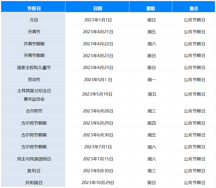
十一、土耳其重要节日

1692240056478078327.png

海关数据,海关数据查询,海关数据查询平台

声明:文中部分素材来源于网络,如有侵权联系删除。未经本站授权,任何人不得复制转载、或以其他方式使用本网站的内容

订阅royal皇家88(集团)

SUBSCRIBE US

掌握外贸最新情报,挖掘全球贸易商机。
微信扫码订阅